
De acordo com o Engadget, o Google solicitou o registro de uma nova patente para um método de aumento de vista que deverá estar presente no Project Glass, os óculos de realidade aumentada do Google.
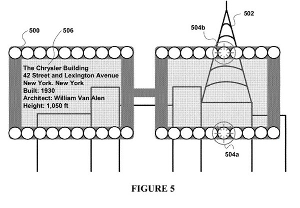
Na nova patente, o buscador descreve um sistema onde o campo de visão poderia identificar o que estamos olhando e acrescentar detalhes factuais e também delinear novos pontos de interesse, incluindo aqueles que não estão necessariamente dentro da visão de nossos próprios olhos.
Desta forma, os óculos, seriam capazes de trazer notificações através de indicadores visuais e pistas, guiando o nosso olhar para algo que nós deveríamos dar uma olhada.
A patente também mostra outras situações no qual o dispositivo poderia detectar quando alguém está lendo a partir de um display digital e até mesmo buscar o resto das informações que estão atualmente fora de vista.

✨ Curtiu este conteúdo?
O GDiscovery está aqui todos os dias trazendo informações confiáveis e independentes sobre o universo Google - e isso só é possível com o apoio de pessoas como você. 🙌
Com apenas R$ 5 por mês, você ajuda a manter este trabalho no ar e leva informação de qualidade para ainda mais gente!
Pensei numa utilidade interessante pra esses óculos: uso policial.
Durante uma abordagem, os óculos chamariam a atenção para detalhes que os policiais não estivessem vendo, como uma possível arma escondida etc.
Um detalhe importante, que eu ainda não vi falar, é em relação à bateria desse dispositivo. É de conhecimento geral que as baterias são o gargalo dos gadgets modernos, e eu fico imaginando como a desse aparelho irá se comportar, já que ele funciona o tempo todo, analisando imagens, rostos, etc. E, olhando bem, não dá pra ver lugar pra bateria grande aí não.
@klawdyo Concordo com você, baterias são o gargalo dos gadgets. Acredito que o dispositivo, o óculos, seja uma interface para um celular com Android, a conexão entre os dois pode ser com Bluetooth ou similar. Sendo desta forma o consumo da bateria do óculos não e tão grande assim.