Além do curioso e inovador Project Glass, uma nova patente do Google revela o que poderá ser um relógio inteligente com um flip touchscreen transparente.
A ideia, talvez, nunca saia dos papéis mas mostra uma preocupação da gigante de Mountain View em investir em produtos além da pesquisa, abordando principalmente a “tecnologia de vestir”.
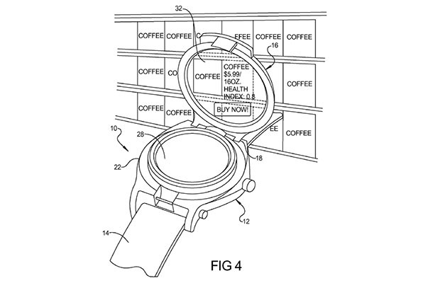
Aprovado pelo USPTO, a patente traz detalhes de um relógio de pulso que poderia apresentar as notificações e outras informações transmitidas através de um smartphone.
“O relógio poderia canalizar uma infinidade de outros aplicativos do Google, como o Gmail, Glass e Maps. Você seria capaz de ver mensagens privadas dentro do aro, mas desde que a exibição também seria transparente, você poderia ver pontos de interesse e outros objetos ao seu redor”, explica o Engadget.
O blog também cita que o dispositivo determinar a localização com nas coordenadas do GPS e as construções virtuais seriam vistas pelo relógio.
“Isso permitiria que a gigante das buscas pudesse lançar anúncios ou outros dados através do flip transparente, dando a informação que você precisa naquele momento”, finaliza.
✨ Curtiu este conteúdo?
O GDiscovery está aqui todos os dias trazendo informações confiáveis e independentes sobre o universo Google - e isso só é possível com o apoio de pessoas como você. 🙌
Com apenas R$ 5 por mês, você ajuda a manter este trabalho no ar e leva informação de qualidade para ainda mais gente!

Acredito num serviço deste tipo quando passarmos a ter um serviço de conexão à Internet gratuito. O custo com as comunicações devem ser custeados pelas empresas da área através do pagamento de uma taxa de comunicações, bem como uma outra parte paga pelas autoridades locais.
Assim, este relógio deveria ser independente dos SmartPhones e permitir comunicação, sobretudo, com o Gmail e com o Google Calendar. A interligação com o Glass será também uma mais valia pois poderia permitir a visualização dos emails em que os controlos dessa visualização poderia estar localizado no próprio relógio.
O Maps será de uso essencial no Glass, não vendo qualquer relação possível com este relógio.