Uma nova patente da Apple, aprovada esta semana pelo escritório americano de patentes, sugere o desenvolvimento de um dispositivo que poderá funcionar de forma similar ao Project Glass, os óculos computadorizados do Google.
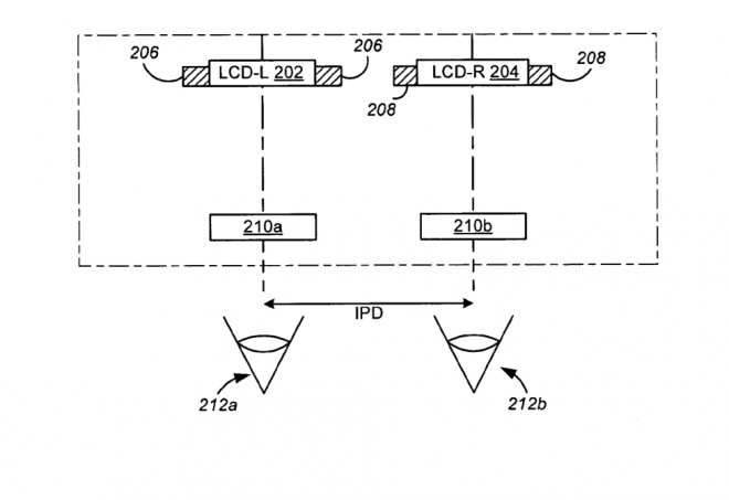
Além de descrever técnicas e métodos de projetar uma imagem no olho do usuário, a tecnologia patenteada traz detalhes de um dispositivo de vestir equipado com um programa de computador, permitindo gerar conteúdo no campo visual de seus utilizadores.
Para demonstrar sua utilidade, a a Apple forneceu alguns exemplos: em aplicações de cirurgia onde tomografias computadorizadas ou imagens de ressonância magnética podem ser combinadas no campo de visão do cirurgião; para militares, bombeiros e policiais, que poderiam usar a visualização para mostrar informações táticas, e cientistas e engenheiros que poderiam se beneficiar de visualização de desenhos de projetos.
Solicitada em 2006, a patente é creditada a John Tang e Anthony Fadell, ambos funcionários da divisão de iPods.
✨ Curtiu este conteúdo?
O GDiscovery está aqui todos os dias trazendo informações confiáveis e independentes sobre o universo Google - e isso só é possível com o apoio de pessoas como você. 🙌
Com apenas R$ 5 por mês, você ajuda a manter este trabalho no ar e leva informação de qualidade para ainda mais gente!

É a chance do Google tirar ele de linha. Como fez com o Galaxy Nexus.
Legal, depois é a Google que copia eles!